GoEdge自建CDN系统踩坑记录

安装GoEdge
一行脚本安装
curl -s https://goedge.cloud/install.sh | bash
卸载GoEdge
查看监听端口为 7788 的程序PID
root@AcoFork-NAS:~/oci# apt install lsof && lsof -i :7788
Reading package lists... Done
Building dependency tree... Done
Reading state information... Done
lsof is already the newest version (4.95.0-1).
0 upgraded, 0 newly installed, 0 to remove and 254 not upgraded.
COMMAND PID USER FD TYPE DEVICE SIZE/OFF NODE NAME
edge-admi 1733510 root 7u IPv6 8663743 0t0 TCP *:7788 (LISTEN)
edge-admi 1733510 root 9u IPv6 8746827 0t0 TCP 10.147.17.1:7788->10.147.17.147:39580 (ESTABLISHED)
edge-admi 1733510 root 10u IPv6 8828980 0t0 TCP 10.147.17.1:7788->10.147.17.147:45730 (ESTABLISHED)
root@AcoFork-NAS:~/oci#
用PID找程序路径
root@AcoFork-NAS:~/oci# readlink -f /proc/1733510/exe
/usr/local/goedge/edge-admin/bin/edge-admin
root@AcoFork-NAS:~/oci#
这样你就成功找到了 EdgeAdmin安装目录 : /usr/local/goedge/edge-admin/
接着前往 卸载管理平台 - 文档 - GoEdge CDN | 自建CDN 按照教程一步步卸载即可
API节点的配置
安装阶段会让你配置API节点,会让你配置端口和公网
你需要保证端口未占用,默认端口 8001 (已知飞牛OS会占用)。如果占用了就换一个
你需要保证 公网 可以被你之后添加的节点 主动访问 到(我的做法是使用IPv6公网,并保证之后添加的节点都有IPv6地址)
添加DNS服务商
首先前往

添加你的DNS账号。hw 用来做CDN域名的自治解析,cf 用来后续签发SSL

点进去,确保能获取到域名

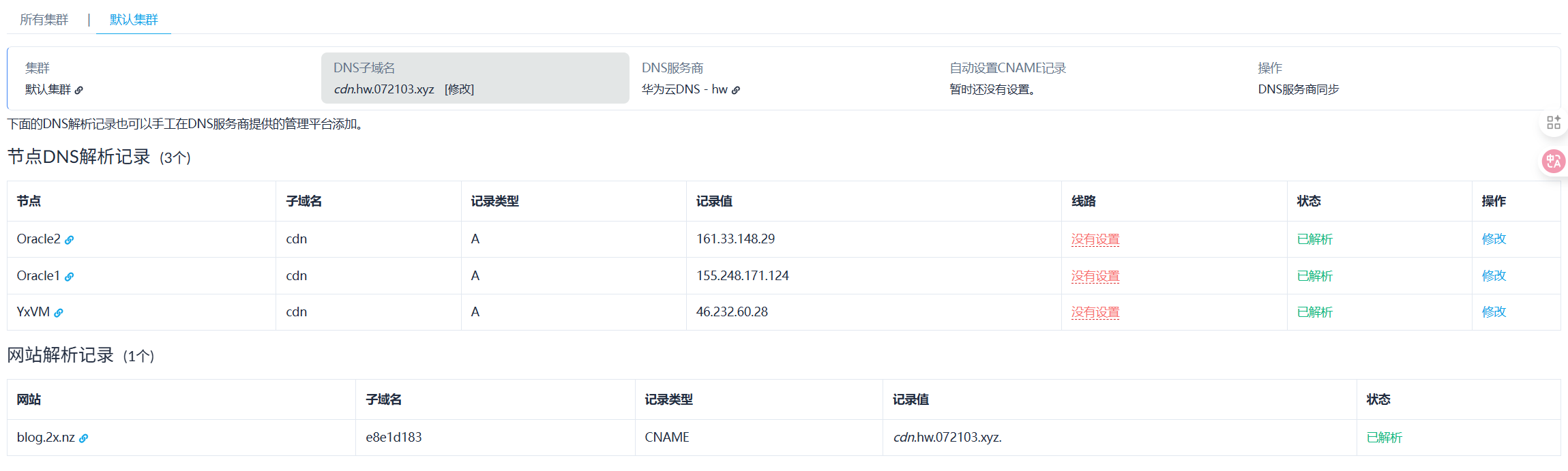
设置CDN域名
前往

设置好DNS子域名

添加节点
前往


然后填写节点IP+SSH认证方式(密码/密钥),之后goedge会主动通过SSH连接节点安装服务
配置节点的DNS IP
前往

会让你填写每个节点的DNS IP,填写节点的 公网IP 即可
签发SSL
前往




随便写个邮箱

写域名(支持泛域名)

稍等片刻就签发成功

禁止未绑定域名访问/禁止IP直接访问
字面意思,如图设置

创建网站
前往

接下来你们自己研究吧 我要睡了