本站遭受了建站以来规模最大的一次DDoS攻击,总流量6.65TB,峰值瞬发1.95GB/s

引言
本站建站初使用 静态 架构就是防止别有用心之人进行DDoS
你想啊,一个静态网站,所有攻击流量都是打在 CDN的边缘节点 上,也就是等于攻打 整个CDN厂商
一是很难打死,二是没必要,毕竟静态网站的背后没有源站,也不涉及利益,纯粹是白打
但在昨天,就有位神人试图攻打 EdgeOne/ESA 并且还真给他打死了,待我娓娓道来
如果你就是那位神人,请联系我,我给您颁个奖
初见端倪
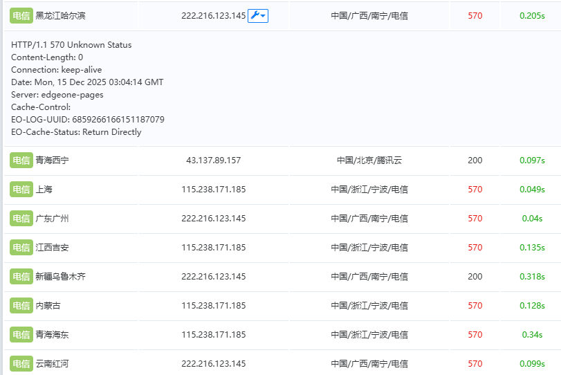
于 2025年12月16号 11:13,我在和我的朋友测试项目的时候,有一个知识点他忘记了,我提议他前往我的博客查看,却被告知博客访问报 570 状态码
我立即使用 https://itdog.cn 测试了我的博客网站 https://acofork.com 发现大部分节点都为 570 状态码

随后,我向腾讯客服求证,了解到该状态码是一个 单节点限频访问 的状态码

我的朋友甚至还在调侃说: 你网站🔥了

但是事情貌似还有一些诡异,为什么海外都是 200 OK ?
我开始怀疑被打了

可能玩静态久了,没有第一时间上到 EdgeOne 查看请求数和流量,想着都是静态,谁没事打呢
然后我就回家,暂时切了一下逻辑
- 之前: EdgeOne Pages 直接提供服务,但是570
- 现在: EdgeOne CDN 回源 Cloudflare Pages
切完后逐步好转,虽然速度有些慢,然后我就睡觉了
茅塞顿开
睡醒后我越想越奇怪,于是就登上了 EdgeOne Pages 控制台,然后一看,我嘞个大雷




随后我抱着好奇的心态想看看ESA防御咋样,没想到刚切过去阿里云就给我发消息了

于是…


依旧是熟悉的印度尼西亚

那没招了,随后我于10分钟内极速 完全切到Cloudflare Pages

目前来看 Cloudflare Pages 也挺绿的

最后发了一个被打的B站视频,然后得知
我去!大手子来了!

赛后总结


本站遭受了建站以来规模最大的一次DDoS攻击,总流量6.65TB,峰值瞬发1.95GB/s
目前 acofork.com 域名所有主要业务重定向为 2x.nz ,所有业务采用 Cloudflare CDN
如果各位大牛有防御方案/缓解措施,欢迎留言!